一、三相電壓表功能和特點:
三相電壓表,可與互感器配套使用,對電網中的電壓參數測量,采用數字LED方式顯示,三相電流表具有精度高,隔離性強,性能穩定,抗
振動等優點,可設定PT、CT變化,可直接替代原有指針式儀表。
1、 采用高性能處理芯片,搭配獨立計量芯片,測量精度高,運行速度快。
2、 測量單相電流,CT可任意設定。
3、 采用LED數碼顯示。
4、 標準輸入電壓 AC220V、AC400V/AC100V (可通過PT擴展量程)
5、 顯示倍率、通訊地址,波特率等通過面板上按鈕可設置,使用非常靈活方便。
6、 0~20mA或4~20mA模擬量輸出。
7、 報警輸出,對被測量參數實現上下限監控。
8、 RS-485數字接口,采用標準MODBUS-RTU協議。
9、 開關量輸入,可監視系統內開關量狀態。
10、數字校零、數字校調,精度高,性價比極高。
二、三相電壓表 功能特點
精度等級
|
顯示精度:0.5級
|
顯示
|
整四位LED數碼顯示
|
輸入
|
標準輸入電壓 |
AC220V、AC400V/AC100V(可通過PT擴展量程)
|
過負荷
|
持續:1.2倍 瞬時:電壓2倍(10秒) |
阻抗
|
>300kΩ
|
功耗
|
<1VA(每相)
|
| 電能 |
單相、三相限有功、無功電能計量 |
| 頻率 |
50/60Hz±10% |
電源
|
工作電源
|
AC220V、AC/DC 80-265V、AC380V、DC24V、DC48V
|
功耗
|
≤5VA
|
| 輸出模塊 |
脈沖輸出 |
2路電能脈沖輸出,光耦繼電器,常數:5000imp/Kwh(Kvarh)
|
| 開關量輸入 |
2路或4路開關量輸入 |
| 開關量輸出 |
2路或4路開關量輸出 |
| 模擬量輸出 |
1-4路 |
| 通訊接口 |
RS485接口 MODBUS-RTU協議,波特率1200、2400、4800、9600可選 |
| 隔離耐壓 |
輸入和電源>2kv,輸入和輸出>1kV,電源盒輸出>2kV |
絕緣電阻
|
≥100MΩ
|
工作條件
|
環境溫度:-10~55℃,相對濕度≤93%,無腐蝕氣體場,海拔高度≤2500m
|
三、三相電壓表選型表
三相數顯電壓表型號 |
YK4U-24 |
YK4U-94 |
YK4U-34 |
YK4U-A4 |
YK4U-D4 |
基本功能 |
測量三相電壓 |
通訊(C) |
1路(選配) |
1路(選配) |
1路(選配) |
1路(選配) |
無 |
變送(M) |
1-3路(選配) |
1-3路(選配) |
1路(選配) |
1路(選配) |
無 |
開入(K) |
4路(選配) |
4路(選配) |
2路(選配) |
2路(選配) |
無 |
開出(報警 J) |
2路(選配) |
2路(選配) |
2路(選配) |
2路(選配) |
無 |
面板尺寸 |
120×120 |
96×96 |
80×80 |
72×72 |
48×48 |
開孔尺寸 |
111×111 |
91×91 |
76×76 |
67×67 |
45×45 |
電源 |
標配AC220V(除通訊、報警外,帶其他輔助功能必須選用AC/DC80~265V電源,
不帶輔助功能可選配電源 A3: AC380V D2: DC24V D4: DC48V AD: AC/DC80~265V) |
四、三相電壓表接線示例圖

訂貨說明:
訂貨時,請詳細寫明所需型號、輸入信號變比,變送、通訊、開入、開出等要求以及工作電源等內容。
例1:型號:YK4I-21CMAD
輸入:AC 500/5A
帶1路通訊、帶1路模擬量變送輸出、工作電源:AC/DC80~265V
開孔尺寸:111×111mm
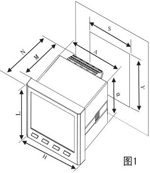
五、三相電壓表尺寸
 |
外形尺寸mm
(LxH)
|
殼體尺寸mm
(AxB) |
開孔尺寸mm
(SxY)
|
總長mm
(N)
|
深度mm
(M)
|
120x120 |
109x109 |
110x110 |
95 |
85 |
96x96 |
90x90 |
91x91 |
95 |
85 |
80x80 |
75x75 |
76x76 |
95 |
85 |
72x72 |
66x66 |
68x68 |
95 |
85 |
48x48 |
44x44 |
45x45 |
95 |
85 |
|
六、三相電壓表 安裝方法

七、
接線端子背視圖(供參考,以實物為準)

|